瀏覽:616次 2013/10/08

HLN-11A里氏硬度計概述:
HLN-11A里氏硬度計是一種新型的便攜式硬度測試儀器,HLN-11A里氏硬度計,主要適用于測試金屬材料的硬度,具有測試精度、體積小、操作容易、攜帶方便,測量范圍寬的特點,它是以里氏硬度為原理,測出里氏(HL)硬度值經過程序自動轉換成布氏,洛氏,維氏,肖氏等硬度值,還可以配置各種測試配件,來滿足于各種測試條件和環境,HLN-11A里氏硬度計,主要適用于金屬材料的快速硬度測試,特別適宜對大型零部件及不可拆卸部件的現場硬度測試。
功能特點:
可測試六種硬度制(HV、HRC、HRB、HB、HV、HS),并且之間可以相互轉換。
可配置六種不同的沖擊裝置,(D、DC、D+15、C、DL、G)。
自動識別沖擊裝置類型(D、DC、D+15、C、DL、G)。
按鍵少,操作方便,可直接通過鍵盤選擇測試材料及測試方向。
打印機與主機可分離。
可打印測試結果。
技術規格及參數:
可測試硬度制 HL、 HRC、HRB、HV、HB、HS
測試精度 相對誤差±0.8%、示值重復性誤差0.8(HLD=800)詳情見表二
標準沖擊裝置 D型沖擊裝置(詳情見附件表一)
上下限設置測量范圍 (170~960)HLD
可選沖擊裝置 D/ C /DC / D+15 / DL/ G
同時可配沖擊裝置數量 一套
計算機接口 無
顯示文字 英文,
屏幕顯示 無背光
測試方向 任意
數據儲存 無
測量工件的最大硬度顛值 940HV(D/DC/DL/D+15/C沖擊裝置)
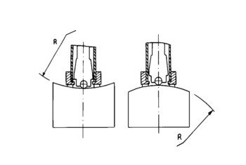
測量工件的曲率半徑 Rmin=50mm(用異型支承環Rmin=10mm)
識別功能 自動識別沖擊裝置類型功能
打印機類型 可拔插針式打印機
測試材料數量 9種(不含不銹鋼)詳情見附件表一;
自動檢測電壓 無
電源 充電電池NIMH4.8V,1200mAh
充電器 9V75mA
外型尺寸 270×86×47mm
重量 650g(包括沖擊裝置和打印機)
----------------------------------------------------------------------------------------------------
延伸閱讀:
HLN-11A里氏硬度計怎么校準
首先要確保裝機裝置是正常的。然后,打開機蓋,里面有個小開關組,上面標的是123456,除了6不要動,其他5個隨便你調,如果改不過來,那就需要動另外個地方,必須打開機殼,電路板上校準。
試件的預處理:
1、HLN-11A里氏硬度計被測表面的準備:被測表面過于粗糙,則會引起測量誤差。因此,試件的被測表面必須露出金屬光澤,并且平整、光滑、不得有油污。
2、曲面:當被測表面曲率半徑R小于30mm(D、DC、D+15、C、E、DL型沖擊裝置)和小于50mm(G型沖擊裝置)的試件在測試時應使用小支撐環。

為方便HLN-11A里氏硬度計對各種異型的曲面的測試,對D、DC、D+15、C、E型沖擊裝置,請參照下表選用異型支撐環。